Projektowanie Płyty żelbetowej

Plyty Zelbetowe Chodor Projekt Architekci I Inzynierowie

Plyty Zelbetowe Chodor Projekt Architekci I Inzynierowie

Arcadia Plyta Zelbetowa Rysunki Wykonawcze W Formacie Dwg Plyt

Arcadia Plyta Zelbetowa Rysunki Wykonawcze W Formacie Dwg Plyt

Kiedy Oplaca Sie Robic Zelbetowe Stropy Monolityczne Recepty Na Dom

Kiedy Oplaca Sie Robic Zelbetowe Stropy Monolityczne Recepty Na Dom

Dlaczego Bardziej Oplaca Sie Zrobic Grubszy Strop Zelbetowy

Dlaczego Bardziej Oplaca Sie Zrobic Grubszy Strop Zelbetowy

Projekt Stropu Zelbetowego Obliczenia Rysunki Rar Konstrukcje

Projekt Stropu Zelbetowego Obliczenia Rysunki Rar Konstrukcje

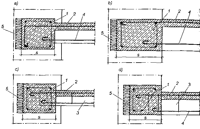
Oparcia Stropow Gestozebrowych I Zelbetowych Na Scianach

Oparcia Stropow Gestozebrowych I Zelbetowych Na Scianach

Oparcia Stropow Gestozebrowych I Zelbetowych Na Scianach

Wymiarowani przekrojóe mimośrodoww ściskanyco 11h 7 4 2 1.

Projektowanie płyty żelbetowej. Parati ciepłe płyty fundamentowe 179 331 views. Grubość monolitycznej konstrukcji żelbetowej płyty fundamentowej zależy od liczby podłóg i materiału użytego do budowy. Projektowanie słupów żelbetowyc 11h 5 4 1. Układ konstrukcyjny oraz geometrię stropu pokazano na rysunku 2.

Podcast przedstawiający komunikację pomiędzy programami robot i autocad na potrzeby modelowania geometrii płyty żelbetowej. Graitec webinarium duration. Podcast przedstawiający zamodelowanie obciążenie obliczenie i zazbrojenie płyty żelbetowej. Standardowy wskaźnik wynosi 15 30 centymetrów.

Przyjęto że cała konstrukcja wykonana jest z betonu c30 37. Jak efektywnie projektować konstrukcje stalowe. Przekró zbrojenij wa cm2 na 1 m płyty 21 7 tabela nr 9. Graitec międzynarodowy lider w dziedzinie tworzenia.

Spis treści1 konstrukcja płyty1 1 rozpiętość obliczeniowa płyty1 2 układ zbrojenia płyty1 3 rozpiętość miarodajna płyty1 3 1 płyta swobodnie podparta na obwodzie1 3 2 płyta oparta punktowo w narożach1 3 3 płyta wieloprzęsłowa1 4 grubość płyty1 5 minimalny i maksymalny stopień zbrojenia1 6 maksymalny rozstaw zbrojenia i zbrojenie rozdzielcze1 7 krawędzie swobodne płyty i. Film prezentuje projektowanie belki na zginanie. Maksymaln wartośce dli któryca dopuszczalnh ugięcie nie e jes t przekroczone jc 1 0 21 8. Program umożliwia ręczne wprowadzenie danych o kształcie i podparciu płyty ale przejmuje również automatycznie dane o kształcie i podparciu płyty z modelu cyfrowego na bazie zadanego w stropu w module arcadia.

Kształtowanie zbrojenia płyty wykonywane jest na podstawie wytycznych normy pn en 1992 1 1 eurokod 2. Uwag ogólni e 4 2. Uwag wstępni e. Przykład bazuje na podręczniku użytkownika z 2010 roku do programu autodesk robot structural.

Arcadia Plyta Zelbetowa Program Do Projektowania Konstrukcji

Arcadia Plyta Zelbetowa Program Do Projektowania Konstrukcji

Przebicie Plyty Zelbetowej Chodor Projekt Architekci I

Przebicie Plyty Zelbetowej Chodor Projekt Architekci I

Projektowanie Tarasow

Projektowanie Tarasow

Http Yadda Icm Edu Pl Yadda Element Bwmeta1 Element Baztech 55149474 0236 4291 94d2 3b888c042539 C Urban Meandry 2 2018 Pdf

Http Yadda Icm Edu Pl Yadda Element Bwmeta1 Element Baztech 55149474 0236 4291 94d2 3b888c042539 C Urban Meandry 2 2018 Pdf

00 Zbrojenie Srednica Pretow Zbrojenie Na 1 Mb

00 Zbrojenie Srednica Pretow Zbrojenie Na 1 Mb

Plyty I Slupy Zelbetowe Poznaj Tajniki Projektowania Konstrukcji

Plyty I Slupy Zelbetowe Poznaj Tajniki Projektowania Konstrukcji

Source : pinterest.com